ESG评价管理平台
ESG评价管理平台
系统介绍
ESG评价管理平台旨在通过创建在线填报链接,邀请企业在线完成ESG评价信息填报,系统将根据企业的填报情况为企业评分,进而反应企业在ESG领域的表现情况。
平台服务对象可包括金融投资机构、母基金、银行等,可便捷的完成填报链接创建、问卷信息审核及相关数据分析;支持创建投资组合,并对投资组合内的企业进行多维度分析,可为投资机构进行投资决策时提供数据支撑。
功能说明
数据准备
组织管理
- 新建组织
点击“添加组织”按钮后在弹窗内完善组织信息,包括组织名称、所属组合等基本信息。其中“联系邮箱”必须填写,且邮箱最好为负责ESG数据收集的负责人邮箱,因为企业的专属填报链接将会直接发送至此邮箱内。

- 组织详情
点击组织列表上的组织名称或操作栏里的“评估记录”按钮进入组织详情页。
评估历史
主要以数据可视化的形式展示企业各年的ESG问卷填报记录及数据汇总统计;
最新评分 以仪表图形式展示企业最新的得分情况,包括综合得分、管理水平得分、风险水平得分。

历史得分情况统计 企业历年ESG得分走势图。

填报记录 企业已填报的问卷信息记录,并可查看每份问卷的评估报告;同时,点击问卷名称可进入填报页查看企业的填报详情。

定量指标数据统计 统计企业近五年填报过的所有定量指标以及填报的具体数值。

指标明细 指标明细页将企业历年填报的每一份问卷中的指标的填报内容记录在此,便于企业快速,方便的查找历史填报明细。

投资组合管理
- 新建组合
点击“添加组合”后,在弹窗内完善投资组合信息,包括组合基本信息和包含的企业名单;组合基本信息包括投资组合名称、投后管理负责人、总规模和已投资金额,其中已投资金额为系统自动计算,将根据各企业的投资金额进行自动汇总并显示;组织名单需添加现有企业至当前投资组合内。

- 组合详情
点击投资组合列表上的组合名称或操作栏里的“评估记录”按钮进入详情页;组织详情页内可查看各企业的当前填报数据对比以及历年数据走势;同时也可切换年度,看每年的定量数据。


指标管理
指标管理模块用户可创建并维护自有指标,同时平台级指标也可供用户直接使用、复制以及修改;
- 创建指标:点击“添加指标”后在弹窗内完善指标信息,包括指标名称、数据类型、参考标准等;部分字段介绍如下:
- 关联排放源:若指标为碳排放相关指标,则可在此处选择关联的排放源;关联后系统会根据用户填写的数值,计算此排放源的排放量数值。
- 数据类型:决定用户填报时输入内容,包括文本、数值和选项;文本类型支持用户输入文本描述类内容;数值支持用户输入定量数据,并可设置数值区间段的分值;选项支持单选、所选,并可为选项赋分。
- 范围:设置指标的行业属性,分为通用和行业细分;通用指标适用于所有行业,行业细分类指标,则需选择指标所属行业;
- 主题:指标的主题属性配置,一级主题默认为环境、社会、治理、基金管理人ESG调研问题、其他;下级主题由用户自行添加,可添加多级;指标必须挂在非一级主题上,所以用户需自行先把主题数据维护好。
- 参考标准:配置指标所属的参考标准,目前支持HKEX指标、国企指标、ISSB指标、SASB指标和自定义指标;
- 性质:指标的性质属性,包括管理水平(考察企业管理能力、体系建设情况的指标等)、风险水平(重大ESG风险事件等);管理水平和风险水平的划分也是后续计算管理和风险得分的基础。
- 填报说明:指标的填报说明,输入内容后将会在填报页展示,提示用户如何填报。

- 复制指标:点击目标指标操作栏内的“复制”按钮后,即可将当前指标信息完全复制一份,用户在此基础上修改之后便可快速完成新指标的创建;
主题管理
主题作为指标的一个属性,目前支持用户自定义维护二级主题及其下级主题,一级主题是固定的,包括社会、环境、治理、基金管理人ESG调研问题和其他。用户在为指标选择主题时,仅支持选择非一级主题。

问卷设计
问卷设计模块用于维护问卷指标模板。企业事先在此创建好适用于不同投资组合、不同使用场景、不同时间节点的问卷模板后,在创建问卷时,选择对应的模板便等同于配置问卷填报指标,这样便可以节省每次创建问卷时配置指标所用的时间。
创建问卷模板:点击“添加问卷模板”后在弹窗内配置模板信息;一份模板包含基本信息和指标配置两块内容:
- 基本信息:基本信息仅需要填写模板名称、模板适用对象、备注三项内容,填写后点击“下一步”进入指标配置页。

- 指标配置:配置指标时,会将指标分为两大类:行业通用指标和行业细分指标;行业通用指标不具备行业属性,无论企业所处任何行业,均需填报此指标;行业细分指标则具有行业属性,若企业所处行业下已配置指标,则企业需填报此指标。页面左侧为已配置的指标列表,已配置的指标可以设置是否必填。页面右侧为待选指标列表,指标范围涵盖系统内置指标+自定义添加的指标,点击指标后面的加号,即可将指标添加至模板内。

问卷预览
模板指标配置过程中,支持实时问卷预览,可查看已配置指标的填报问卷内展示情况。
议题排序设置
已配置的指标,将会按指标所属议题进行分组展示;用户可自行调整各议题、指标的排序;调整后,填报问卷内也会按此排序进行展示;

综合得分权重配置
系统将会根据得分公式,对企业填报的数据进行评分;得分计算公式中,相关参数的权重值支持用户修改。

参考其他模板
创建问卷时,支持选择参考其他模板,将参考模板已配置的指标一键同步至当前模板内。

问卷发放
支持投资机构(企业)按年度面向各被投企业(待评价组织)创建ESG信息收集问卷,并以邮件通知的形式发送至各企业负责人的联系邮箱。被投企业(待评价组织)可通过在线填报的形式完成ESG信息填报并提交至机构进行审核;系统同时支持文件导入,机构可将历史收集数据导入系统内进行数据留存及分析。系统设置ESG评分机制,会对各企业提交的问卷信息进行实时分析并给出有效评分,进而辅助投资机构对各被投企业进行适当的投资决策调整。
新建问卷
点击“新建问卷”后,在弹窗内完善问卷基础信息,包括问卷标题、评估时间、问卷模板、生成通用链接、匿名填写、上传凭证、填报说明、邮件模板配置、组织名单;问卷模板需要事先在“问卷设计”模块内维护好,每个模板内配置好填报指标,则新建问卷时,选择对应的模板后,即可将模板内的指标设置为本次问卷的填报指标;
部分字段说明:
问卷模板
选择模板后,可在问卷上单独设置得分公式中的各权重值;系统会将问卷中已设置好的数值同步过来,用户可选择重新调整;调整后的权重值仅在此问卷中生效,将不影响模板中的配置;
生成通用链接 开启后,此问卷支持生成非目标企业的通用链接,可随意分享给相关用户填写,用户仅需通过手机号/邮箱登录后便可进行填写;
匿名填写 开启后,问卷将无需登录,点开填报链接便可直接进行填写;
上传凭证 开启后,指标支持上传证明文件;
邮件模板说明 问卷创建好后,系统会自动向问卷内的各企业负责人的邮箱发送专属的填报链接,因此,可在邮件模板内编辑邮件内正文通知内容,便于各企业负责人在收到邮件时,可及时清楚的了解本次的填报任务。
组织名单说明 添加需要参与本次问卷填报的企业,企业信息需提前在“组织管理”模块维护好。
保存并发送邮件通知 问卷基础信息填写完整后,则可点击此按钮将各企业的专属填报链接发送至相关负责人的邮箱。

问卷详情
点击问卷列表上问卷名称或操作栏内的“查看”按钮即可进入问卷详情页。
- 评估分析
评估分析页,主要以数据可视化的形式对问卷内企业填报内容的数据汇总统计,且支持生成在线报告及报告下载。
在线报告查看及下载:根据企业的填报内容和系统评分,可在线查看对比统计报告并支持下载至本地。

- 组织ESG风险及管理水平评估:支持预设风险类和管理里指标,根据企业填报内容对企业进行管理、风险和总体的ESG评分,并对企业进行分级,由好至差分别为领先组织、良好组织和需关注组织。

- 组织得分情况统计:以柱状图形式展示各企业的ESG综合得分、管理水平得分和风险水平得分情况。

- 定量指标数据统计:以柱状图形式展示各企业在各定量指标的填报情况。支持定量数据图表切换,查看不同指标各企业的数据对比情况。

- 组织列表:问卷内各企业信息列表,支持查看企业填报状态、得分情况等;同时支持查看问卷的实时填报情况,并对企业提交的问卷内容进行审核,对审核不通过的问卷可退回至企业进行重新填报,点击操作栏内的“重新填写”后,会将此问卷的状态更改为“未填报”,用户已填写的内容仍会保留,需由用户检查、修改已填内容后,重新提交。

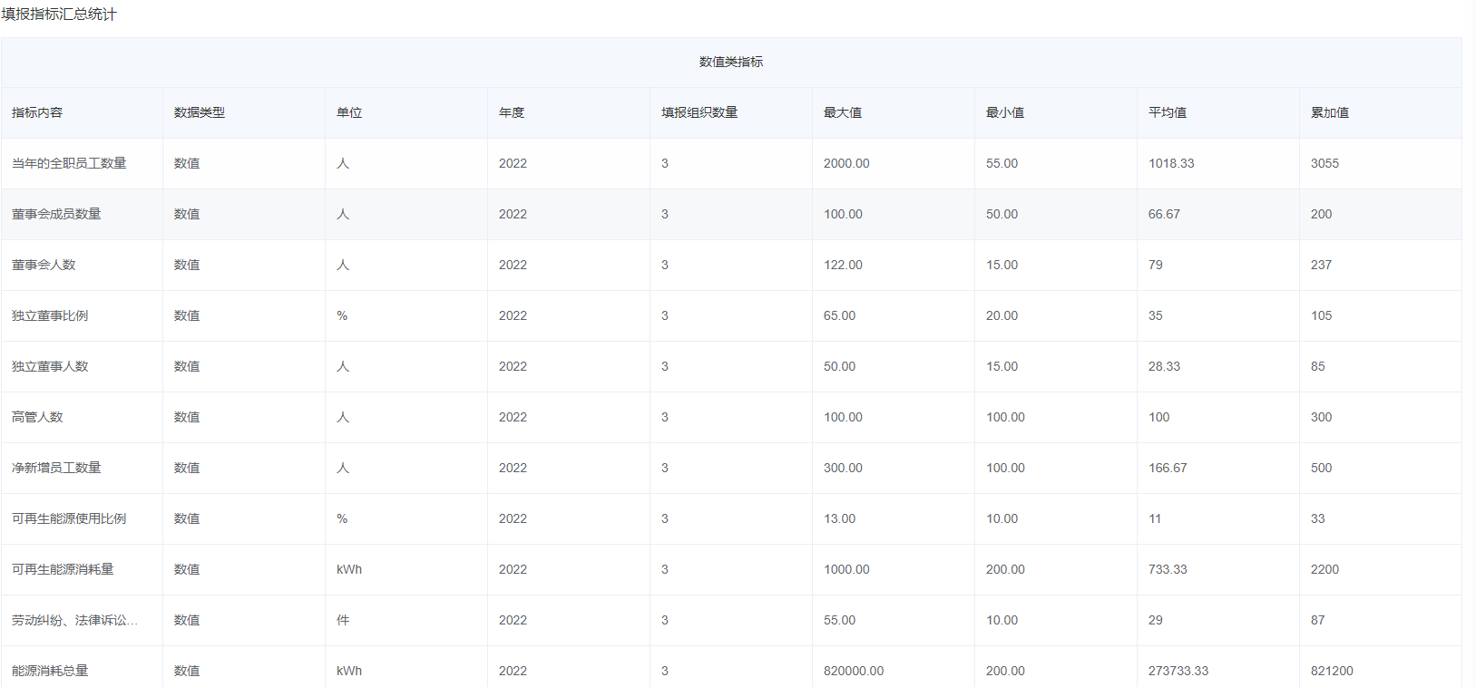
- 填报指标汇总统计:按指标类型进行各指标的填报数据汇总统计;数值类指标支持最大值、最小值、平均值和累加值统计;选项类指标支持各选项填报占比统计;文本类指标支持平均字数统计。

- 指标明细
问卷内各企业对各指标的填报明细,不仅可查看企业的填报内容,也可直观的反应企业是否已填报。列表数据支持下载导出。

指标填报页
问卷创建成功后,系统会为问卷内的每个企业生成专属填报链接并发送至各企业负责人的邮箱,填报页内容如下:
- 企业基本信息:填报企业的基本信息,包括企业名称、公司网址、企业对接人、手机号码等;
- 公司规模:包括年收入、全职员工数量和投资轮次;
- 业务属性:企业所属行业及主营业务收入、营业收入占比;
- 行业通用指标:指标将会按主题进行分类展示;
- 行业特定指标:根据企业选择的所属行业,展示当前行业下的指标;
- 保存和提交:页面填报内容支持随时保存,提交后将无法再次修改。

